阿里巴巴集團 阿里巴巴官網入口
導讀中國經濟周刊—經濟網訊 據阿里巴巴官微6月20日信息,張勇將于今年9月10日卸任阿里巴巴控股集團董事會主席兼CEO職務,此后將專職擔任阿里云智能集團董事長兼CEO。據悉,阿里巴巴控股集團董事會主席兼C

中國經濟周刊—經濟網訊 據阿里巴巴官微6月20日信息,張勇將于今年9月10日卸任阿里巴巴控股集團董事會主席兼CEO職務,此后將專職擔任阿里云智能集團董事長兼CEO。
據悉,阿里巴巴控股集團董事會主席兼CEO張勇通過全員信宣布,阿里1+6+N的全新業務集群基本成型,各業務集團董事會已開始運行,多個業務的上市和融資計劃也已開展,控股集團將主要承擔創新孵化大本營角色,整個阿里巴巴正以全新姿態奔向未來。
張勇同時宣布,阿里云智能集團完全分拆已經啟動,正處于向上發展的最關鍵時期,必須全身心投入。同時為了適應未來發展規范和要求,其個人不宜再同時擔任兩家公司董事長與CEO職務。經阿里巴巴控股集團董事會同意,張勇將于今年9月10日卸任阿里巴巴控股集團董事會主席兼CEO職務。張勇此后將專職擔任阿里云智能集團董事長兼CEO,專注阿里云的發展。
同時,經過阿里巴巴控股集團董事會批準,集團執行副主席蔡崇信將出任阿里巴巴控股集團董事會主席;吳泳銘出任阿里巴巴控股集團CEO,同時繼續兼任淘天集團董事長。
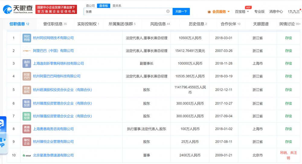
天眼查App顯示,張勇共關聯十幾家企業,多為存續開業狀態,涉及科技、投資等領域。上述存續企業中,張勇除在阿里巴巴集團控股有限公司任職董事會主席、董事、首席執行官外,還在阿里巴巴(中國)有限公司任法定代表人、董事長兼總經理,并在杭州阿里巴巴網絡科技有限公司等多家企業任董事長、監事、經理等高管。此外,張勇還直接持有杭州君澳股權投資合伙企業(有限合伙)、杭州臻晟投資管理合伙企業(有限合伙)等多家企業股份。
新媒體編輯:崔曉萌
一審:崔曉萌 二審:周瑞峰 三審:王新景
